发布时间:2020-09-16 已有: 位 网友关注
减速机运行一段时间后,由于各部件间相互的磨损,会导致轴承间隙的增大,为保证减速能持续稳定的工作,要在减速机运行一定的时间后,对减速机的各轴轴承间隙进行调整。
在减速机轴系固定方式一般采用轴系两端固定和轴系一端固定,一端游动两种方式。而两端固定方式一般又采用轴承端盖外装式及轴承端盖嵌入式两种。
以下是对采用几种固定方式的减速机在调整轴承间隙的方法总结。
1、轴系两端固定方式
这种结构常采用端盖固定轴承外圈,结构简单,使用方便。在一般的齿轮减速机及轴承支承点跨距<300㎜的蜗杆减速机中较为常见。
1)外装式端盖的减速机轴承间隙调整
此种方式结构简单,使用方便,在减速机中被广泛采用。

图1是外装式端盖固定的齿轮轴系结构。出厂时大多会在两端留有适量的轴向间隙,以保证轴承的灵活运转及轴系零件的热伸长。此间隙一般在0.25㎜~0.4㎜范围内,否则会使滚动体受载不均匀并引起较为严重的轴向窜动。因而要靠调整轴承间隙来保证一定的轴向间隙。在调整此种固定方式的轴系时,首先打开减速机的观察孔,看准齿轮的啮合情况后,再确定轴系是从哪个方向移动间隙。
如图1所示,如果确定高速轴向输入侧调整间隙,就要把高速轴的闷盖拆下,用深度游标卡尺测出轴承距端盖平面的深度记下;然后用撬杠类工具把轴系向输入侧移动,再测出闷盖端轴承距端盖平面的深度,两个深度尺寸的差值就是轴承移动的量。把轴系移动好后,就在轴承孔上加上与移动量相等的垫片,最后装上闷盖。
待所有部件装配完后,轻轻盘动减速机,检查各轴转动是否灵活。若仍有卡阻,则可对加的垫片厚度适量减薄。直到把减速机各轴的转动调整到灵活。根据实际情况,还可以把安装于箱体上的轴承端盖进行切削加工,切削深度为轴承移动量或略大于移动量的0.20㎜。如切削深度大于端盖平面厚度的1/3,则由于端盖太薄,强度减弱,需要重新加工端盖。
对可调整间隙的向心推力轴承,可通过调整轴承由外圈的相对位置得到需要的轴承游隙。这种游隙一般比较小,以保证轴承刚性和减少噪声、振动。对不可调间隙的轴承(如向心球轴承),可在装配时通过调整,使固定端盖与轴承外圈端面间留有适量的间隙,以容许轴系的热伸长。
在圆锥齿轮减速机中,对于悬臂的小锥齿轮的轴系,要求具有良好的刚性,并且能调整轴系的轴向位置,以达到两齿轮锥顶重合。因此常将整个轴系装于套环内而形成一个独立组件。套杯的肩起固定轴承的作用,凸肩不可过高,以利于轴承的拆卸套杯凸缘及轴承端盖处都有垫片用来调整轴承间隙及调节轴系的轴向位置。
圆锥齿轮轴系采用向心推力轴承时,轴承有正安装和反安装两种布置方案。正安装的结构支点跨距较小,刚度较差,但用垫片实现调整比较方便。反安装的结构安装轴承不便,用圆螺母调整比较麻烦,但支点跨距较大,刚性较好。当要求两轴承布置紧凑而有需要提高轴系的刚性时,常采用此种结构。
2)嵌入式端盖的减速机轴承间隙调整
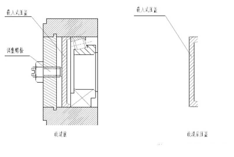
主要是通过减速机自身的调整端盖来实现轴承间隙的调整,不用拆开减速机的零部件。某矿卷扬机采用的蜗轮蜗杆减速机蜗杆轴承间隙就是如图2所示的调整形式。
在生产间隙时停机对减速机轴承间隙进行调整,如果能卸出输出端的负载,调整将更为精确,利用调整端盖上的调整螺栓进行调整,调好后,轻轻盘动减速机,检查各轴转动是否灵活。若仍有卡阻,则反复调整,直到把减速机各轴的转动调整到灵活、无明显轴向窜动为佳。

由于使用中各零件的相互作用,使得固定轴承外圈(或内圈)的挡圈和端盖上压轴承外圈的台肩会产生一定量的磨损,这些不起眼的磨损,累加起来也会使轴系有很大间隙,也能导致轴系产生窜动。
值得注意的是与调整螺栓配套的嵌入压盖(如图2),与轴承外圈接触的部分,有的减速机上该压盖接触面过少(如图2改造前),经常导致磨损迅速,大大缩短了轴承间隙调整周期,解决的办法是:增加内压盖与轴承外圈的接触面积(重新制作加工,加宽内压盖的轴承外圈压边)(如图2改造后),也能有效的延长轴承间隙的调整周期,防止轴承的损坏。
当然,内压盖磨损还有其它的原因,比如轴承支承孔磨损严重,破坏了原有的配合公差,致使轴承走外圆(外圈在摩擦力作用下随轴承转动)等。
2、轴系一端固定、一端游动方式
一端固定、一端游动轴系结构比较复杂,但可容许轴系有较大的热伸长。多用于轴承支点跨距较大、温升较高的轴系中。安排支承时,应把受径向力较小的一端作为游动端,以减少轴向游动时的摩擦力。如果两支点的径向力相近,则常选轴伸端作为游动端。

图3所示是一端固定一端游动的蜗杆轴系,固定端的支承用组合轴承构成,组合轴承的两个圈分别用套杯凸肩和轴承端盖双向固定,两内圈则用轴上零件,轴肩或圆螺母双向固定,由于固定段轴承承受轴向力,一般不用弹性挡圈作为固定件。
用圆螺母固定轴承内圈时,其螺纹直径要小于轴承内径,直径应小于垫片尺寸,垫片在沟槽中的位置应低于螺纹内径(见图3)。当采用圆锥滚子轴承时。为了防止螺母与轴承保持架接触,应在螺母与轴承间加一隔套。
游动端支承可选用向心球轴承或向心滚子轴承。对于向心球轴承,内圈两侧可依靠轴肩和轴上零件固定,外圈则不固定,因而可在轴承座孔中做轴向游动,对于向心滚子轴承内外圈两侧都需要固定。轴向游动靠滚子相对于外圈的轴向位移来实现。
减速机各轴系轴承间隙的调整对稳定运行至关重要,在调整轴承间隙时应注意以下几点。
1、必须要以齿轮啮合为依据,需符合两齿轮接触斑点、齿侧间隙及齿顶隙的要求,即要以减速机转动轻快、灵活为准。
2、轴承间隙必须在可调范围内,若轴承间隙已经处于报废状态时,再调整间隙就没有实际意义。
3、加强操作人员及点检人员的责任心,随时检查运行情况;加强检修人员责任心,提高维护检修质量,延长设备使用寿命。